革命泛指重大革新.用新潮流事物推翻之前不好的弊端.
水龙头有史以来,一体式结构一直源用至今,先看单冷的.部分图片来自网络,如有版权请联系删除。


单冷安装在洗手盆的
个别水嘴(单冷)有突破,二合一结构水龙头颠覆传统的同时挑战各国`地区的专利.(注一个专利内多数方案,不过变化不大.在此不全例出)看下面.





日本的专利
上面专利共同特点①繁锁式②外露式:③分离式(指管接头与水龙头主体被隔开)注一个专利内多数方案,不过变化不大.看下面中国式二合一结构.

易经:"一元生两仪,,,"理念设计.照片内上面是专利,下面是传统的
颠覆传统·超轻松趣味安装的中国式二合一水嘴与各种水嘴对比


安装在洗手盆`大理石的单冷二合一结构水龙头留言地球;龙头千万种,卫生第一种。常年不清洗,亲人健康累!
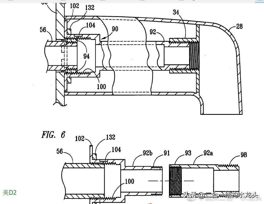
易极天成二合一结构特点:.A:简明式.B:内藏式C:亲密式(指管接头与水龙头主体历史性100%对接)
单冷都比不了,冷热多一个进水道更不用说了.冷热两用一式体未有实质改变,只能体现为最简单阴阳组合:水龙头(单冷,冷热)与接头(弯头与软管),

传统冷热两用水龙头,主体为阴(内螺纹),编织软管为阳.
另一种分体式(行业内讲三朕水龙头)更古老即使用更早,现叫古典风格,因是二个单冷开关合二为一混合出水,其实用性,环保性(材科多,配件多,,,)等远没有一体式好。成本自然高,因此全球使用率少于一体式。

古典三朕水龙头,配件多,安装麻烦,占空间
下面二合一结构冷热两用水龙头

硬管淘汰编织软管,耐用又卫生中国式二合一结构与传统一体式的两种冷热水龙头对比

石上磨仰视

洗手盆徒手易拆装即易清洗内部,
改变最多的淋浴水龙头,先传统后看专利的.

2个曲角少不了

缔造经典:中国式二合一结构“半暗半明装”淋浴水龙头

1支连接管淘汰2个曲角
上面链接内传统的种种痛点存在于全球各个(贫穷,富有)家庭,各类(低`高级)场所。原因是各大小卫浴公司所生产的传统一体结构水龙头始终没变,大家别无选择(只是在材料与款式上的选择)。世间无一成不变的事物,包括水龙头结构。还有颠覆的未一一例出来,二合一结构单是淘汰曲角的一项特色就能载入行业史册!有如5G手机一样流行开来只是时间的问题!
易极卫浴:智慧改变生活!